Préselhető szemes terminál

► Maxi (Ø 12-28 mm)
Medium

WDS 12+

 

cikkszám kötél Ø
mm
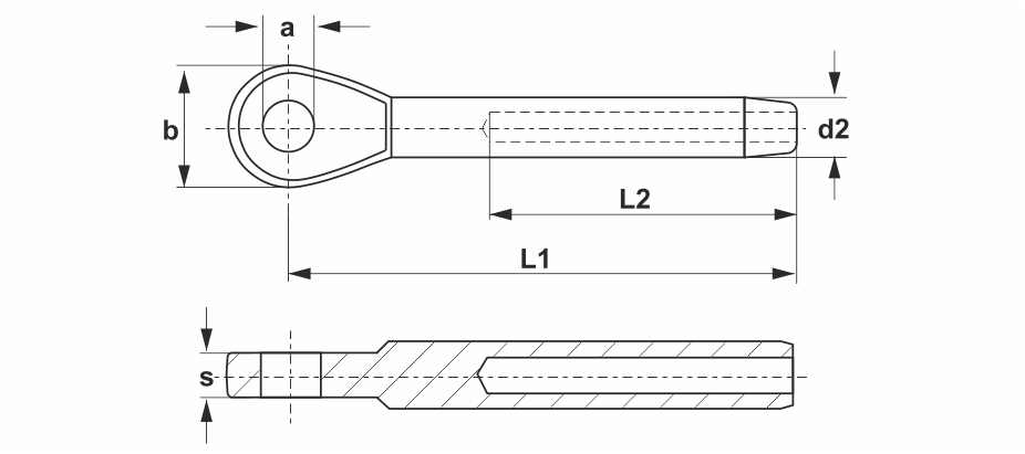
méretek (mm)
b s a d2 L1 L2
190012 12 40 15 19,3 20 156 105
190012X 12 42 15 19,3 21,4 178 120
190014 14 47 18 23 25 206 140
190016 16 53 20 26 28 232 160
190019 19 65 25 28,5 34,5 302 200
190020 20 65 25 28,5 34,5 302 200
190022 22 70 30 33 40,4 348 230
190026 26 77 30 36 46 400 280
190028 28 84 38 40,5 50 445 300
A cikkszámokra kattintva a termék(ek) az ajánlatkérés menüben listázásra kerülnek.
H-1239 Budapest Grassalkovich út 214-216.
+36-1/286-0205
texem@texem.hu
H-4030 Debrecen, Rigó u. 64-66.
+36-52-523-870
texem@texem.hu
H-3529 Miskolc, Írisz u. 4.
+36-46-322-673
texem@texem.hu