


| cikkszám |
kötél Ø mm |
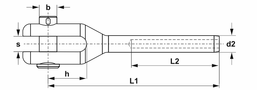
méretek (mm) | |||||
| b | s | h | d2 | L1 | L2 | ||
| 721912 | 12 | 19 | 20 | 45 | 20 | 197 | 105 |
| 722214 | 14 | 22 | 22 | 49 | 25 | 239 | 140 |
| 722516 | 16 | 25 | 25 | 52 | 28 | 271 | 160 |
| 722819 | 19 | 28 | 30 | 55 | 34,5 | 327 | 200 |
| 723222 | 22 | 32 | 35 | 67 | 40,4 | 377 | 230 |
| 723526* | 26 | 35 | 35 | 67 | 46 | 435 | 280 |
| 724028* | 28 | 40 | 34 | 75 | 50 | 443 | 300 |
| 724530* | 30 | 45 | 38 | 91 | 50 | 508 | 340 |
| 724532* | 32 | 45 | 38 | 91 | 58 | 508 | 340 |
| 725036* | 36 | 50 | 49 | 100 | 65 | 575 | 380 |
| A cikkszámokra kattintva a termék(ek) az ajánlatkérés menüben listázásra kerülnek. |
* anyagminőség: 1.4462, A500 gép esetén külön egyeztetésre lehetséges 1.4404



| cikkszám |
kötél Ø mm |
méretek (mm) | |||||
| b | s | h | d2 | L1 | L2 | ||
| 101612 | 12 | 16 | 17 | 33 | 20 | 174 | 105 |
| 101612L | 12 | 16 | 22 | 31 | 20 | 171 | 105 |
| 101912 | 12 | 19 | 24 | 48 | 20 | 189 | 105 |
| 101912L | 12 | 19 | 30 | 47 | 20 | 187 | 105 |
| 101912X | 12 | 19 | 24 | 48 | 21,4 | 205 | 120 |
| 101914L | 14 | 19 | 30 | 47 | 25 | 221 | 140 |
| 102214 | 14 | 22 | 30 | 57 | 25 | 232 | 140 |
| 102216 | 16 | 22 | 30 | 57 | 28 | 260 | 160 |
| 102514 | 14 | 25,4 | 30 | 62 | 25 | 235 | 140 |
| 102516 | 16 | 25,4 | 30 | 62 | 28 | 264 | 160 |
| 102819 | 19 | 28 | 32 | 68 | 34,5 | 309 | 200 |
| 102820 | 20 | 28 | 32 | 68 | 34,5 | 309 | 200 |
| 103222 | 22 | 32 | 35 | 76 | 40,5 | 354 | 230 |
| 103526 | 26 | 35 | 40 | 86 | 46 | 420 | 280 |
| A cikkszámokra kattintva a termék(ek) az ajánlatkérés menüben listázásra kerülnek. |

