Préselhető villás terminál

► Standard (Ø 3-12 mm)
Eco

PK Standard

 

cikkszám kötél Ø
mm
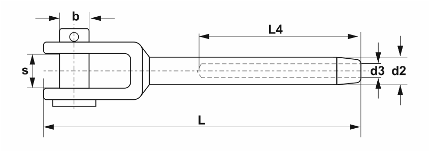
méretek (mm)
b s d3 d2 L4 L
PK100503 3 5 7 3,2 6,3 38 67
PK100604 4 6 11 4,3 7,5 49 80
PK100805 5 8 12 5,3 9 52 95
PK100906 6 9 14 6,4 12,9 63 117
PK101208 8 12 17 8,4 16 85 130
PK101610 10 16 20 10,5 18 90 166
PK101612 12 16 23 12,5 20 105 213
A cikkszámokra kattintva a termék(ek) az ajánlatkérés menüben listázásra kerülnek.
H-1239 Budapest Grassalkovich út 214-216.
+36-1/286-0205
texem@texem.hu
H-4030 Debrecen, Rigó u. 64-66.
+36-52-523-870
texem@texem.hu
H-3529 Miskolc, Írisz u. 4.
+36-46-322-673
texem@texem.hu